¡¡¡¡±¾ÊµÓÃÐÂÐÍÉæ¼°´¬²°µ÷½Ú·§¼¼ÊõÁìÓò£¬¾ßÌåΪһÖÖÊÖ¶¯Ê½Æø¶¯µ÷½Ú·§¡£

¡¡¡¡²¼¾°¼¼Êõ£º
¡¡¡¡Æø¶¯µ÷½Ú·§¾ÍÊÇÒÔѹËõ¿ÕÆøÎª¶¯Á¦Ô´£¬ÒÔÆø¸×ΪִÐÐÆ÷£¬²¢½èÖúÓÚµçÆø·§ÃŶ¨Î»Æ÷¡¢×ª»»Æ÷¡¢µç´Å·§¡¢±¬Î¥·¨µÈ¸½¼þÈ¥Çý¶¯·§ÃÅ£¬ÊµÏÖ¿ª¹ØÁ¿»ò±ÈÀýʽµ÷½Ú£¬½Ó¹Ü¹¤Òµ×Ô¶¯»¯½ÚÔìϵͳµÄ½ÚÔìÐźÅÀ´ÊµÏÖµ÷½Ú¹Ü·½éÖʵÄÁ÷Á¿¡¢Ñ¹Á¦¡¢Î¶ȵȸ÷À๤ÒÕ²ÎÊý£¬Æø¶¯µ÷½Ú·§µÄÌØµã¾ÍÊǽÚÔìµ¥Ò»£¬·´Ó³¼±¾ç£¬ÇÒÐÔÖʰ²È«£¬²»ÐèÁí±íÔÙ²ÉÈ¡·À±¬´ëÊ©£¬Æø¶¯µ÷½Ú·§Í¨³£ÓÉÆø¶¯Ö´Ðлú¹¹ºÍµ÷½Ú·§ÏνÓ×°Öõ÷ÊÔ×é³É£¬Æø¶¯Ö´Ðлú¹¹¿É·ÖΪµ¥×÷ÓÃʽºÍË«×÷ÓÃʽÁ½ÖÖ£¬µ¥×÷ÓÃÖ´ÐÐÆ÷ÄÚÓи´Î»µ¯»É£¬¶øË«×÷ÓÃÖ´ÐÐÆ÷ÄÚûÓи´Î»µ¯»É¡£ÆäÖе¥×÷ÓÃÖ´ÐÐÆ÷£¬¿ÉÔÚʧȥ·¢Ô´»òºöÈ»¹ÊÕÏʱ£¬×Ô¶¯¹éλµ½·§ÃųõʼËùÉèÖõĿªÆô»ò¹Ø¹Ø×´Ì¬¡£
¡¡¡¡Ä¿Ç°Êг¡ÉÏͨÓÃµÄÆø¶¯µ÷½Ú·§£¬Í¨³£Ñ¡È¡ÂÝÎÆ½øÐз§Ìå¹Ì¶¨¡£ÕâÖֽṹµ¼ÖÂÆø¶¯µ÷½Ú·§²ð×°²»Òס£²»Ö»Ìá¸ßÁËÊÖ¹¤²Ù×÷µÄÀͶ¯Ç¿¶È£¬ÇÒÂŴβð×°ºóÈÝÒ׳öÏÖÊý¾Ý²»ÕýÈ·£¬Îó²î½Ï´óµÄÎÊÌâ¡£ÓÉÓÚ¼Ó¹¤Îó²î¡¢×°ÅäµÈ·½ÃæµÄÓ°Ï죬µ±Òƶ¯·§¸Ëʱ£¬·§°êÃÜ·âÃæºÍ·§×ùÃÜ·âÃæÖ®¼äµÄ²úÉú¿Ï¶¨¾àÀ룬µ±±ØÒª¹Ø¹Ø¸Ã·§Ê±£¬ÎÞ·¨´ïµ½È«ÃÜ·â״̬£¬Ð¹Â©Á¿´ó£¬ÓµÓмӹ¤ÄÑÌâ¡¢³É±¾¸ßµÄ¼¼Êõȱµã¡£
¡¡¡¡¼¼ÊõʵÏÖÉí·Ö£º
¡¡¡¡±¾ÊµÓÃÐÂÐ͵ÄÖ÷ÕÅÔÚÓÚÌṩһÖÖÊÖ¶¯Ê½Æø¶¯µ÷½Ú·§£¬Í¨¹ýÔÚ·§Ìå±í²àÉèÖõ÷½ÚÂݸˣ¬Í¨¹ýÊÖ¶¯µ÷½ÚËø½ôÂÝÄ¸Ëø½ôÆø¶¯µ÷½Ú·§£¬ÒÔ½â¾öÉÏÊö²¼¾°¼¼ÊõÖÐÌá³öµÄÎÊÌâ¡£
¡¡¡¡ÎªÊµÏÖÉÏÊöÖ÷ÕÅ£¬±¾ÊµÓÃÐÂÐÍÌṩÈçϼ¼Êõ¹æ»®£ºÒ»ÖÖÊÖ¶¯Ê½Æø¶¯µ÷½Ú·§£¬Ô̺¬·§Ìå¡¢·§¸Ç¡¢·§°ê×é¼þ¡¢ÏÎ½ÓÆ÷¡¢Éϲ¿·§¸Ë¡¢Ï²¿·§¸Ë¡¢µ¯»É¡¢µ¯»É×ù¡¢µ÷½ÚÂݸˡ¢Ëø½ôÂÝĸÒÔ¼°Æø¶¯Ö´ÐÐÆ÷£¬ËùÊöÆø¶¯Ö´ÐÐÆ÷ÉèÓÚËùÊö·§ÌåµÄÉÏ·½£¬ËùÊöÏÎ½ÓÆ÷Ò»¶Ëͨ¹ýÉϲ¿·§¸ËÓëÆø¶¯Ö´ÐÐÆ÷Ïνӣ¬ËùÊöÏÎ½ÓÆ÷ÁíÒ»¶Ëͨ¹ýϲ¿·§¸ËÓë·§Ìå¹Ì¶¨Ïνӣ¬ËùÊöµ÷½ÚÂݸËÉèÓÚËùÊöÏÎ½ÓÆ÷Á½²à£¬ËùÊöËø½ôÂÝĸÐý½ÓÓëËùÊöµ÷½ÚÂݸËÉÏ£¬ËùÊö·§¸ÇÉèÓÚËùÊöÆø¶¯Ö´ÐÐÆ÷Óë·§ÌåÖ®¼ä£¬ËùÊöϲ¿·§¸Ë϶ËÉèÓÚËùÊö·§°ê×é¼þÄÚ£¬ËùÊöϲ¿·§¸ËÁ½²àÉèÓе¯»É×ù£¬ËùÊöµ¯»ÉÉèÓÚËùÊöµ¯»É×ùÉÏ£¬ËùÊö·§ÌåÏ·½ÉèÓнø¿Ú£¬ËùÊö·§ÌåÓÒ²àÉèÓгö¿Ú¡£
¡¡¡¡ÓÅÑ¡µÄ£¬·§°ê×é¼þÔ̺¬·§°ê¡¢·§°ê×ù¡¢·§°êµ¯»ÉÒÔ¼°oÐÍÃÜ·âȦ£¬ËùÊö·§°ê×ùÉèÓÚ·§°êµÄÏ·½£¬ËùÊöoÐÍÃÜ·âȦÉèÓÚËùÊö·§°êÓë·§°ê×ùÖ®¼ä£¬ËùÊö·§°êµ¯»ÉÉèÓÚËùÊö·§°ê×ùÓë·§ÌåÖ®¼ä¡£
¡¡¡¡ÓÅÑ¡µÄ£¬·§°ê³ÊtÐͽṹ£¬ËùÊö·§°êÖв¿ÉèÓа¼²Û£¬ËùÊö°¼²ÛÓëËùÊöϲ¿·§¸ËµÄµ×¶ËÏàÊÊÅä¡£
¡¡¡¡ÓÅÑ¡µÄ£¬µ¯»É×ùÓëËùÊöϲ¿·§¸Ë³Ê´¹Ö±½á¹¹£¬ËùÊöµ¯»ÉÓëËùÊöϲ¿·§¸Ë³ÊƽÐнṹ¡£
¡¡¡¡ÓÅÑ¡µÄ£¬µ¯»É×ùÔ̺¬Éϵ¯»É×ùÒÔ¼°Ïµ¯»É×ù£¬ËùÊöÉϵ¯»É×ùÓëËùÊöϵ¯»É×ù³Ê¾¶Ïò¶Ô³ÆÉ¢²¼¡£
¡¡¡¡ÓÅÑ¡µÄ£¬Æø¶¯Ö´ÐÐÆ÷Ò»²à»¹ÉèÓеçÀÂÃÜ·âÌס£
¡¡¡¡ÓëÏÖÓм¼ÊõÏà±È£¬±¾ÊµÓÃÐÂÐ͵ÄÓÐÒæ³ÉЧÊÇ£º
¡¡¡¡(1)±¾ÊµÓÃÐÂÐÍͨ¹ýÆø¶¯µ÷½Ú·§Öеķ§Ìå¡¢Éϲ¿·§¸Ë¡¢Ï²¿·§¸Ë¡¢·§°ê¡¢Æø¶¯Ö´ÐÐÆ÷µÈ×é¼þÖ®¼äµÄÏ໥¹²Í¬£¬ÀûÓÃÆø¶¯µ÷½Ú·§Äڵĵ÷½Ú¸Ë£¬Äܹ»ÊÖ¶¯µ÷¹ÇÆø¶¯µ÷½Ú·§µÄËø½ô½á¹¹£¬Ê¹µÃµ÷½Ú·§»úÄܲ»±ä£¬½á¹¹µ¥Ò»£¬±ãÓÚ³ö²úÔì×÷ºÍ²Ù×÷¡£
¡¡¡¡(2)±¾ÊµÓÃÐÂÐÍͨ¹ýÔÚ·§°ê×é¼þÖÐÉèÖ÷§°ê×ùÒÔ¼°·§°êµ¯»É£¬Í¨¹ý·§°ê×ùÒÔ¼°·§°êµ¯»É£¬Ê¹Æø¶¯µ÷½Ú·§ÓµÓзÀÕñ¶¯ÐԺõÄÀûÒæ¡£
¡¡¡¡(3)±¾ÊµÓÃÐÂÐÍͨ¹ýÔÚ·§°ê×é¼þÖÐÉèÖÃoÐÍÃÜ·âȦ£¬Í¨¹ýoÐÍÃÜ·âȦÄܹ»Ôö³¤·§°êÓëϲ¿·§¸ËµÄÃÜ·âÐÔ¡£
¡¡¡¡(4)±¾ÊµÓÃÐÂÐÍͨ¹ýÔÚÆø¶¯µ÷½Ú·§ÖÐÉèÖÃÏÎ½ÓÆ÷£¬Í¨¹ýÏÎ½ÓÆ÷ÏÎ½ÓÆø¶¯Ö´ÐÐÆ÷ÒÔ¼°·§Ì壬ʹµÃÆø¶¯Ö´ÐÐÆ÷ÄÜ´øÍ··§ÌåÔËÐС£
¡¡¡¡(5)±¾ÊµÓÃÐÂÐÍÔÚÉϲ¿·§¸ËÁ½²àÉèÖõ÷½ÚÂݸˣ¬Í¨¹ýµ÷½ÚÂݸËÓëËø½ôÂÝĸ֮¼äµÄÅäºÍ£¬ÔÚÆô¹Ø·§ÃÅʱ£¬È·±£·§¸Ç¡¢·§ÌåÓë·§°êÖ®¼äµÄÃÜ·âÐÔά³ÖÓÅÁ¼¡£
¡¡¡¡(6)±¾ÊµÓÃÐÂÐÍͨ¹ýÔÚÆø¶¯Ö´ÐÐÆ÷Ò»²àÉèÖõçÀÂÃÜ·âÌ×£¬Äܹ»½«µçÀÂÏß²ØÓÚµçÀÂÃÜ·âÌ×ÖУ¬Ô¤·À±»±í½ç»·¾³Ó°ÏìʹÓá£
¡¡¡¡¸½Í¼×¢Ã÷
¡¡¡¡Í¼1ÎªÆø¶¯µ÷½Ú·§ÕûÌå½á¹¹Í¼£»
¡¡¡¡Í¼2Ϊ·§°ê×é¼þ½á¹¹Í¼¡£
¡¡¡¡¾ßÌåÖ´Ðз½Ê½
¡¡¡¡ÏÂÃæ½«½áºÏ±¾ÊµÓÃÐÂÐÍÖ´ÐÐÀýÖеĸ½Í¼£¬¶Ô±¾ÊµÓÃÐÂÐÍÖ´ÐÐÀýÖеļ¼Êõ¹æ»®½øÐÐÃ÷ÏÔ¡¢ÆëÈ«µØÃèÊö£¬ÏÔÈ»£¬ËùÃèÊöµÄÖ´ÐÐÀý½ö½öÊDZ¾ÊµÓÃÐÂÐÍÒ»²¿ÃÅÖ´ÐÐÀý£¬¶ø²»ÊÇÈ«ÊýµÄÖ´ÐÐÀý¡£»ùÓÚ±¾ÊµÓÃÐÂÐÍÖеÄÖ´ÐÐÀý£¬ÄÜÁ¦Óòͨ³£¼¼ÊõÈËÔ±ÔÚûÓÐ×ö³ö´´ÔìÐÔÀͶ¯Ç°ÌáÏÂËù»ñµÃµÄËùÓÐÆäËûÖ´ÐÐÀý£¬¶¼ÊôÓÚ±¾ÊµÓÃÐÂÐͱ£»¤µÄÁìÓò¡£
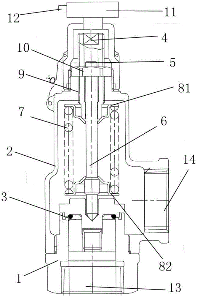
¡¡¡¡Çë²ÎÔÄͼ1ºÍͼ2£¬±¾ÊµÓÃÐÂÐÍÌṩһÖÖ¼¼Êõ¹æ»®£ºÒ»ÖÖÊÖ¶¯Ê½Æø¶¯µ÷½Ú·§£¬Ô̺¬·§Ìå1¡¢·§¸Ç2¡¢·§°ê×é¼þ3¡¢ÏÎ½ÓÆ÷4¡¢Éϲ¿·§¸Ë5¡¢Ï²¿·§¸Ë6¡¢µ¯»É7¡¢µ¯»É×ù8¡¢µ÷½ÚÂݸË9¡¢Ëø½ôÂÝĸ10ÒÔ¼°Æø¶¯Ö´ÐÐÆ÷11£¬Æø¶¯Ö´ÐÐÆ÷11ÉèÓÚ1µÄÉÏ·½£¬Æø¶¯Ö´ÐÐÆ÷11Ò»²à»¹ÉèÓеçÀÂÃÜ·âÌ×12£¬Í¨¹ýÔÚÆø¶¯Ö´ÐÐÆ÷11Ò»²àÉèÖõçÀÂÃÜ·âÌ×12£¬Äܹ»½«µçÀÂÏß²ØÓÚµçÀÂÃÜ·âÌ×12ÖУ¬Ô¤·À±»±í½ç»·¾³Ó°ÏìʹÓã¬ÏÎ½ÓÆ÷4Ò»¶Ëͨ¹ýÉϲ¿·§¸Ë5ÓëÆø¶¯Ö´ÐÐÆ÷11Ïνӣ¬ÏÎ½ÓÆ÷4ÁíÒ»¶Ëͨ¹ýϲ¿·§¸Ë6Óë·§Ìå1¹Ì¶¨Ïνӣ¬Í¨¹ýÔÚÆø¶¯µ÷½Ú·§ÖÐÉèÖÃÏÎ½ÓÆ÷4£¬Í¨¹ýÏÎ½ÓÆ÷4ÏÎ½ÓÆø¶¯Ö´ÐÐÆ÷11ÒÔ¼°·§Ìå1£¬Ê¹µÃÆø¶¯Ö´ÐÐÆ÷11ÄÜ´øÍ··§Ìå1ÔËÐУ¬µ÷½ÚÂݸË9ÉèÓÚÏÎ½ÓÆ÷4Á½²à£¬Ëø½ôÂÝĸ10Ðý½ÓÓëµ÷½ÚÂݸË9ÉÏ£¬ÔÚÉϲ¿·§¸Ë5Á½²àÉèÖõ÷½ÚÂݸË9£¬Í¨¹ýµ÷½ÚÂݸË9ÓëËø½ôÂÝĸ10Ö®¼äµÄÅäºÍ£¬ÔÚÆô¹Ø·§ÃÅʱ£¬È·±£·§¸Ç2¡¢·§Ìå1Óë·§°ê31Ö®¼äµÄÃÜ·âÐÔά³ÖÓÅÁ¼£¬·§¸Ç2ÉèÓÚÆø¶¯Ö´ÐÐÆ÷11Óë·§Ìå1Ö®¼ä£¬Ï²¿·§¸Ë6϶ËÉèÓÚ·§°ê×é¼þ3ÄÚ£¬Ï²¿·§¸Ë6Á½²àÉèÓе¯»É×ù8£¬µ¯»ÉÉèÓÚµ¯»É×ù8ÉÏ£¬µ¯»É×ù8Óëϲ¿·§¸Ë6³Ê´¹Ö±½á¹¹£¬µ¯»ÉÓëϲ¿·§¸Ë6³ÊƽÐнṹ£¬µ¯»É×ù8Ô̺¬Éϵ¯»É×ù81ÒÔ¼°Ïµ¯»É×ù82£¬Éϵ¯»É×ù81Óëϵ¯»É×ù82³Ê¾¶Ïò¶Ô³ÆÉ¢²¼£¬·§Ìå1Ï·½ÉèÓнø¿Ú13£¬·§Ìå1ÓÒ²àÉèÓгö¿Ú14£¬·§°ê×é¼þ3Ô̺¬·§°ê31¡¢·§°ê×ù32¡¢·§°êµ¯»É33ÒÔ¼°oÐÍÃÜ·âȦ34£¬·§°ê×ù42ÉèÓÚ·§°ê41µÄÏ·½£¬oÐÍÃÜ·âȦ34ÉèÓÚ·§°ê31Óë·§°ê×ù32Ö®¼ä£¬·§°êµ¯»É33ÉèÓÚ·§°ê×ù32Óë·§Ìå1Ö®¼ä£¬·§°ê31³ÊtÐͽṹ£¬·§°ê31Öв¿ÉèÓа¼²Û35£¬°¼²Û35Óëϲ¿·§¸Ë6µÄµ×¶ËÏàÊÊÅ䣬ͨ¹ýÔÚ·§°ê×é¼þ3ÖÐÉèÖ÷§°ê×ù32ÒÔ¼°·§°êµ¯»É33£¬Í¨¹ý·§°ê×ù32ÒÔ¼°·§°êµ¯»É33£¬Ê¹Æø¶¯µ÷½Ú·§ÓµÓзÀÕñ¶¯ÐԺõÄÀûÒæ£¬Í¨¹ýÔÚ·§°ê×é¼þ3ÖÐÉèÖÃoÐÍÃÜ·âȦ34£¬Í¨¹ýoÐÍÃÜ·âȦ34Äܹ»Ôö³¤·§°ê31Óëϲ¿·§¸Ë6µÄÃÜ·âÐÔ¡£
¡¡¡¡Ê¹Óò½Öè
¡¡¡¡ÔÚʹÓÃÆø¶¯µ÷½Ú·§Ö®Ç°£¬Ê×ÏȽøÐÐÃÜ·âÊÔÑ飬ÔÚ·§ÃÅ´¦ÓڹعØ×´Ì¬Ê±£¬´Ó½ø¿Úͨ·ͨÈëÊÔÑé½éÖÊ£¬¹Û²ì³ö¿Úͨ·ÓÐÎÞй©¡£ÓÉÓÚ¼Ó¹¤Îó²î¡¢×°ÅäµÈ·½ÃæµÄÓ°Ï죬·§Ìå1¡¢Éϲ¿·§¸Ë5¡¢Ï²¿·§¸Ë6ÒÔ¼°·§°ê×é¼þ3Ö®¼ä»á²úÉúЩ΢µÄ¾àÀ룬Òò¶øÎÞ·¨´ïµ½È«ÃÜ·â״̬£¬¹¤×÷ÈËÔ±ÊÖ¶¯µ÷½ÚËø½ôÂÝĸ10£¬ÔÚµ÷½ÚÂݸË9ÉϽøÐÐËø½ô·§Ìå1¡¢Éϲ¿·§¸Ë5¡¢Ï²¿·§¸Ë6ÒÔ¼°·§°ê×é¼þ3Ö®¼äËø½ô×°Öã¬Ëø½ôÂÝ10ĸ´øÍ·µ÷½ÚÂݸË9˳ʹØëÐýת£¬ÔÚµ÷½Ú±íÂÝÎÆºÍµ÷½ÚÄÚÂÝÎÆµÄ¹²Í¬Ï£¬ÊµÏÖ¶ÔÆø¶¯µ÷½Ú·§µÄËø½ôµ÷½Ú¡£
¡¡¡¡Ö»¹ÜÒѾʾ³öºÍÃèÊöÁ˱¾ÊµÓÃÐÂÐ͵ÄÖ´ÐÐÀý£¬¶ÔÓÚÄÜÁ¦ÓòµÄͨ³£¼¼ÊõÈËÔ±¶øÑÔ£¬Äܹ»Àí½âÔÚ²»ÍÑÀ뱾ʵÓÃÐÂÐ͵ĵÀÀíºÍÐÄÁéµÄÇé¿öÏÂÄܹ»¶ÔÕâЩִÐÐÀý½øÐжàÖֱ䶯¡¢Åú¸Ä¡¢´úÌæºÍ±äÐÍ£¬±¾ÊµÓÃÐÂÐ͵ÄÁìÓòÓÉËù¸½È¨ÊÆÒªÇó¼°ÆäµÈͬÎïÏÞÔì¡£
¡¡¡¡¼¼ÊõÌØµã£º
¡¡¡¡1.Ò»ÖÖÊÖ¶¯Ê½Æø¶¯µ÷½Ú·§£¬ÆäÌØµãÔÚÓÚ£ºÔ̺¬·§Ìå¡¢·§¸Ç¡¢·§°ê×é¼þ¡¢ÏÎ½ÓÆ÷¡¢Éϲ¿·§¸Ë¡¢Ï²¿·§¸Ë¡¢µ¯»É¡¢µ¯»É×ù¡¢µ÷½ÚÂݸˡ¢Ëø½ôÂÝĸÒÔ¼°Æø¶¯Ö´ÐÐÆ÷£¬ËùÊöÆø¶¯Ö´ÐÐÆ÷ÉèÓÚËùÊö·§ÌåµÄÉÏ·½£¬ËùÊöÏÎ½ÓÆ÷Ò»¶Ëͨ¹ýÉϲ¿·§¸ËÓëÆø¶¯Ö´ÐÐÆ÷Ïνӣ¬ËùÊöÏÎ½ÓÆ÷ÁíÒ»¶Ëͨ¹ýϲ¿·§¸ËÓë·§Ìå¹Ì¶¨Ïνӣ¬ËùÊöµ÷½ÚÂݸËÉèÓÚËùÊöÏÎ½ÓÆ÷Á½²à£¬ËùÊöËø½ôÂÝĸÐý½ÓÓëËùÊöµ÷½ÚÂݸËÉÏ£¬ËùÊö·§¸ÇÉèÓÚËùÊöÆø¶¯Ö´ÐÐÆ÷Óë·§ÌåÖ®¼ä£¬ËùÊöϲ¿·§¸Ë϶ËÉèÓÚËùÊö·§°ê×é¼þÄÚ£¬ËùÊöϲ¿·§¸ËÁ½²àÉèÓе¯»É×ù£¬ËùÊöµ¯»ÉÉèÓÚËùÊöµ¯»É×ùÉÏ£¬ËùÊö·§ÌåÏ·½ÉèÓнø¿Ú£¬ËùÊö·§ÌåÓÒ²àÉèÓгö¿Ú¡£
¡¡¡¡2.ƾ¾ÝÈ¨ÊÆÒªÇó1ËùÊöµÄÒ»ÖÖÊÖ¶¯Ê½Æø¶¯µ÷½Ú·§£¬ÆäÌØµãÔÚÓÚ£ºËùÊö·§°ê×é¼þÔ̺¬·§°ê¡¢·§°ê×ù¡¢·§°êµ¯»ÉÒÔ¼°oÐÍÃÜ·âȦ£¬ËùÊö·§°ê×ùÉèÓÚ·§°êµÄÏ·½£¬ËùÊöoÐÍÃÜ·âȦÉèÓÚËùÊö·§°êÓë·§°ê×ùÖ®¼ä£¬ËùÊö·§°êµ¯»ÉÉèÓÚËùÊö·§°ê×ùÓë·§ÌåÖ®¼ä¡£
¡¡¡¡3.ƾ¾ÝÈ¨ÊÆÒªÇó2ËùÊöµÄÒ»ÖÖÊÖ¶¯Ê½Æø¶¯µ÷½Ú·§£¬ÆäÌØµãÔÚÓÚ£ºËùÊö·§°ê³ÊtÐͽṹ£¬ËùÊö·§°êÖв¿ÉèÓа¼²Û£¬ËùÊö°¼²ÛÓëËùÊöϲ¿·§¸ËµÄµ×¶ËÏàÊÊÅä¡£
¡¡¡¡4.ƾ¾ÝÈ¨ÊÆÒªÇó1ËùÊöµÄÒ»ÖÖÊÖ¶¯Ê½Æø¶¯µ÷½Ú·§£¬ÆäÌØµãÔÚÓÚ£ºËùÊöµ¯»É×ùÓëËùÊöϲ¿·§¸Ë³Ê´¹Ö±½á¹¹£¬ËùÊöµ¯»ÉÓëËùÊöϲ¿·§¸Ë³ÊƽÐнṹ¡£
¡¡¡¡5.ƾ¾ÝÈ¨ÊÆÒªÇó4ËùÊöµÄÒ»ÖÖÊÖ¶¯Ê½Æø¶¯µ÷½Ú·§£¬ÆäÌØµãÔÚÓÚ£ºËùÊöµ¯»É×ùÔ̺¬Éϵ¯»É×ùÒÔ¼°Ïµ¯»É×ù£¬ËùÊöÉϵ¯»É×ùÓëËùÊöϵ¯»É×ù³Ê¾¶Ïò¶Ô³ÆÉ¢²¼¡£
¡¡¡¡6.ƾ¾ÝÈ¨ÊÆÒªÇó1ËùÊöµÄÒ»ÖÖÊÖ¶¯Ê½Æø¶¯µ÷½Ú·§£¬ÆäÌØµãÔÚÓÚ£ºËùÊöÆø¶¯Ö´ÐÐÆ÷Ò»²à»¹ÉèÓеçÀÂÃÜ·âÌס£
¡¡¡¡¼¼Êõ×ܽá
¡¡¡¡±¾ÊµÓÃÐÂÐ͹«¿ªÁËÒ»ÖÖÊÖ¶¯Ê½Æø¶¯µ÷½Ú·§£¬Ô̺¬·§Ìå¡¢·§¸Ç¡¢·§°ê×é¼þ¡¢ÏÎ½ÓÆ÷¡¢Éϲ¿·§¸Ë¡¢Ï²¿·§¸Ë¡¢µ¯»É¡¢µ¯»É×ù¡¢µ÷½ÚÂݸˡ¢Ëø½ôÂÝĸÒÔ¼°Æø¶¯Ö´ÐÐÆ÷£¬Æø¶¯Ö´ÐÐÆ÷ÉèÓÚ·§ÌåµÄÉÏ·½£¬ÏÎ½ÓÆ÷Ò»¶Ëͨ¹ýÉϲ¿·§¸ËÓëÆø¶¯Ö´ÐÐÆ÷Ïνӣ¬ÏÎ½ÓÆ÷ÁíÒ»¶Ëͨ¹ýϲ¿·§¸ËÓë·§Ìå¹Ì¶¨Ïνӣ¬µ÷½ÚÂݸËÉèÓÚÏÎ½ÓÆ÷Á½²à£¬Ëø½ôÂÝĸÐý½ÓÓëµ÷½ÚÂݸËÉÏ£¬·§¸ÇÉèÓÚÆø¶¯Ö´ÐÐÆ÷Óë·§ÌåÖ®¼ä£¬Ï²¿·§¸Ë϶ËÉèÓÚ·§°ê×é¼þÄÚ£¬Ï²¿·§¸ËÁ½²àÉèÓе¯»É×ù£¬µ¯»ÉÉèÓÚµ¯»É×ùÉÏ£¬·§ÌåÏ·½ÉèÓнø¿Ú£¬·§ÌåÓÒ²àÉèÓгö¿Ú¡£±¾ÊµÓÃÐÂÐÍͨ¹ýÆø¶¯µ÷½Ú·§Öи÷×é¼þÖ®¼äµÄÏ໥¹²Í¬£¬ÀûÓÃÆø¶¯µ÷½Ú·§Äڵĵ÷½Ú¸Ë£¬Äܹ»ÊÖ¶¯µ÷¹ÇÆø¶¯µ÷½Ú·§µÄËø½ô½á¹¹£¬Ê¹µÃµ÷½Ú·§»úÄܲ»±ä£¬½á¹¹µ¥Ò»£¬±ãÓÚ³ö²úÔì×÷ºÍ²Ù×÷¡£